Запасные части ЧТЗ Запасные части ЧТЗ
Ташкент
Например:
Актобе
Алдан
или
Выбрать автоматически
Актобе
Алдан
Алматы
Алчевск
Архангельск
Астана
Астрахань
Атырау
Баку
Балашиха
Барнаул
Белгород
Бердянск
Бишкек
Владивосток
Владикавказ
Воркута
Воронеж
Горловка
Грозный
Донецк
Екатеринбург
Иваново
Ижевск
Иркутск
Казань
Калининград
Каменск-Уральский
Караганда
Каховка
Кемерово
Киров
Комсомольск-на-Амуре
Костанай
Краснодар
Красноярск
Красный луч
Ленск
Луганск
Магадан
Магнитогорск
Макеевка
Махачкала
Мелитополь
Минск
Мирный (Якутия)
Москва
Мурманск
Нерюнгри
Нижневартовск
Нижний Новгород
Нижний Тагил
Новая каховка
Новокузнецк
Новосибирск
Новый Уренгой
Норильск
Ноябрьск
Нур-Султан
Омск
Оренбург
Ош
Павлодар
Пермь
Петрозаводск
Петропавловск
Петропавловск-Камчатский
Псков
Ростов-на-Дону
Салехард
Самара
Санкт-Петербург
Саратов
Севастополь
Семей
Симферополь
Сочи
Ставрополь
Сургут
Сыктывкар
Тараз
Ташкент
Токмак
Томск
Тында
Тюмень
Ульяновск
Усинск
Усть-Каменогорск
Уфа
Хабаровск
Ханты-Мансийск
Херсон
Челябинск
Чита
Шымкент
Экибастуз
Энергодар
Южно-Сахалинск
Якутск
Ваш город
Ташкент
Войти
Запасные части к тракторам на одном сайте
+7 (932) 303-00-10
+7 (932) 303-00-10
г. Ташкент, ул. Кичик Бешагач, д. 20
Пн-Пт: 9:30-18:30 Cб-Вс: Выходной
Отправить заявку


Валики привода масляного насоса на Т10М / Б10М


/
с НДС 20%
Описание
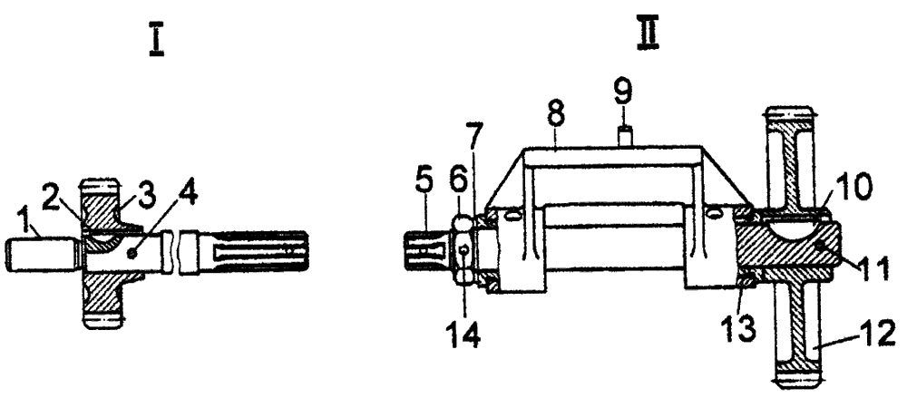
Валики привода масляного насоса Т10М
#Номер запчастиНаименование деталиКол-во в сборке
-
51-09-218СП
51-09-226СП 1
Валики привода масляного насоса1
151-09-105Валик1
2700-34-2040Шпонка1
351-09-198Колесо зубчатое1
4700-32-2185Штифт1
551-66-22 1Валик промежуточный1
6700-30-2339 1Гайка1
751-66-30 1Кольцо1
851-09-202 1Кронштейн1
9700-32-2198 1Штифт2
10700-34-2051 1Шпонка1
11-Заклепка 5x40.00 11
1251-66-23 1Шестерня1
1351-66-19 1Втулка2
14700-32-2186 1Штифт1
I - Для дизеля с номинальной частотой вращения коленчатого вала 1250 об/мин.
II - Для дизеля с номинальной частотой вращения коленчатого вала 1070 об/мин.
1 Для дизеля с номинальной частотой вращения коленчатого вала 1070 об/ мин. Заказывать комплект 51-09-227СП.
Валики привода масляного насоса