Запасные части ЧТЗ Запасные части ЧТЗ
Ташкент
Например:
Актобе
Алдан
или
Выбрать автоматически
Актобе
Алдан
Алматы
Алчевск
Архангельск
Астана
Астрахань
Атырау
Баку
Балашиха
Барнаул
Белгород
Бердянск
Бишкек
Владивосток
Владикавказ
Воркута
Воронеж
Горловка
Грозный
Донецк
Екатеринбург
Иваново
Ижевск
Иркутск
Казань
Калининград
Каменск-Уральский
Караганда
Каховка
Кемерово
Киров
Комсомольск-на-Амуре
Костанай
Краснодар
Красноярск
Красный луч
Ленск
Луганск
Магадан
Магнитогорск
Макеевка
Махачкала
Мелитополь
Минск
Мирный (Якутия)
Москва
Мурманск
Нерюнгри
Нижневартовск
Нижний Новгород
Нижний Тагил
Новая каховка
Новокузнецк
Новосибирск
Новый Уренгой
Норильск
Ноябрьск
Нур-Султан
Омск
Оренбург
Ош
Павлодар
Пермь
Петрозаводск
Петропавловск
Петропавловск-Камчатский
Псков
Ростов-на-Дону
Салехард
Самара
Санкт-Петербург
Саратов
Севастополь
Семей
Симферополь
Сочи
Ставрополь
Сургут
Сыктывкар
Тараз
Ташкент
Токмак
Томск
Тында
Тюмень
Ульяновск
Усинск
Усть-Каменогорск
Уфа
Хабаровск
Ханты-Мансийск
Херсон
Челябинск
Чита
Шымкент
Экибастуз
Энергодар
Южно-Сахалинск
Якутск
Ваш город
Ташкент
Войти
Запасные части к тракторам на одном сайте
+7 (932) 303-00-10
+7 (932) 303-00-10
г. Ташкент, ул. Кичик Бешагач, д. 20
Пн-Пт: 9:30-18:30 Cб-Вс: Выходной
Отправить заявку


Ремонт секции топливного насоса Т-170 Б-170 ТНВД трактора в Ташкенте


/
с НДС 20%
Описание

Снятие секции топливного насоса Т-170

Отсоедините топливопроводы высокого давления от секций и закройте отверстия в топливопроводах и секциях предохранительными пробками 2 ( рис. 152 ) и гайками-колпачками 1.

Снятие секции топливного насоса

Рис. 152. Снятие секции топливного насоса

Снимите крышку смотрового люка насоса. Отверните болт, снимите поводок, соединяющий рейку с тягой насоса. Отверните два болта и удалите планки, удерживающие рейку в пазах блока насоса. Затем выньте рейку из корпуса насоса. Отверните болты и удалите прижимные угольники, крепящие секцию к блоку насоса. Приподнимите секцию вверх и снимите ее с установочных штифтов. Просуньте палец в смотровой люк, удерживая плунжер от выпадения из гильзы, передвиньте секцию в сторону так, чтобы конец плунжера вышел из паза регулировочного винта толкателя. Выньте секцию насоса и заглушите отверстие подвода топлива предохранительной пробкой 3.

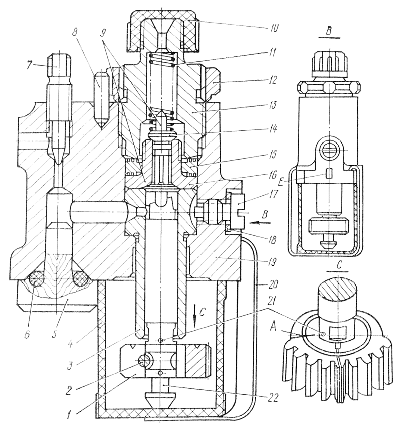
Секция топливного насоса

Рис. 153. Секция топливного насоса

Вставьте в отверстие трубки в блоке насоса деревянные пробки, закройте колпачком 4 ( рис. 153 ) со скобой 20 секцию снизу.

Разборка секции топливного насоса Т-170

Очистите секцию и промойте снаружи, а затем насухо вытрите. Снимите с секции защитные детали 5, 6 и 10, закрывающие топливные каналы, и колпачок 4 со скобой 20, закрывающий секцию снизу. Выньте из гильзы 3 плунжер 22 с зубчатым сектором. Выверните специальным изогнутым торцовым ключом ПИМ-640.200.01 винт 2 крепления зубчатого сектора 1 на плунжере.

Вставьте отвертку в прорезь сектора 1, слегка разведите его и снимите с пояска плунжера 22. Уложите плунжер в ванночку ПИМ-640.310 для мойки прецизионных деталей. Зажмите корпус 19 секции в приспособлении ЦИМ-640.040 так, чтобы штуцер 13 оказался сверху. Снимите со штуцера секции стопорное кольцо 12 специальным съемником ПИМ-640.150 с обоймой. Выньте из корпуса 19 секции .штифт 8 стопорного кольца. Выверните специальным ключом. ПИМ-640.200.06 из корпуса секции штуцер 13, на который навернут защитный колпачок.

Съемник для выемки гнезда обратного клапана

Рис. 154. Съемник для выемки гнезда обратного клапана

Снимите пружину 11. Выньте гнездо 16 обратного клапана вместе с клапаном 14 и уплотнительным кольцом 15 специальным съемником ( рис. 154 ) или съемником ПИМ-640.240. Снимите с гнезда уплотнительное кольцо 15 ( см. рис. 153 ). Клапан 9 вместе с гнездом уложите в ванночку для мойки прецизионных деталей. Выверните отверткой стопорный винт 17 и удалите его вместе с прокладкой 18. Выньте гильзу 3 и положите в ванночку для мойки прецизионных деталей.

Выверните продувочную иглу 7 из корпуса секции насоса.

Технические требования на секции топливного насоса Т-170

Корпус секции

  1. На коническом гнезде корпуса под резиновое уплотнительное кольцо не допускаются грубые поперечные риски.

  2. Нижнюю плоскость корпуса проверяйте на плите на неплоскостность. Щуп толщиной 0,03 мм не должен проходить между плитой и нижней плоскостью корпуса. Не допускаются выступающие над поверхностью заусенцы и забоины.

  3. Поверхность площадки прилегания опорного бурта гильзы должна быть ровной, без забоин.

  4. Не допускаются забоины Ш сорванные нитки на резьбе в корпусе секции под, топливный штуцер и продувочную иглу.

  5. Расстояние от поверхности прилегания опорного торца бурта гильзы до нижней плоскости, должно быть равно (14,5+0,09) мм.

  6. Не допускается устранение повреждений на нижней плоскости корпуса и поверхности прилегания бурта гильзы снятием металла фрезерованием, так как при этом нарушается установочный размер в корпусе секции, определяющий начало подачи топлива секцией при регулировании насоса.

Плунжер и гильза в сборе

  1. Притертые поверхности гильзы и плунжера должны быть зеркальными, совершенно чистыми, без видимых невооруженным глазом штрихов.

  2. Внутренняя кромка всасывающего Отверстия гильзы должна быть острой, без выкрашиваний.

  3. Замена одной детали плунжерной пары деталью из другой пары без последующей проверки гидроплотности не допускается.

  4. На цилиндрической поверхности плунжера от торца до спирали не должно быть рисок, продольных царапин, а на кромках торца плунжера и спирали— выкрошенных мест (сколов).

  5. Плунжер в гильзе после промывки и смазки чистым дизельным топливом должен продвигаться по всей длине отверстия с незначительным усилием. Местное сопротивление, прихватывание и торможение плунжера в гильзе не допускаются. Промытый и смазанный дизельным топливом плунжер, вставленный в гильзу и установленный в вертикальном положении, должен от собственной массы, без задержек и торможений, продвигаться по всей длине гильзы.

  6. Определяйте гидравлическую плотность плунжерных пар на устройстве КИ-759 профильтрованной смесью дизельного топлива с маслом вязкостью 0,099...0,109 м²/с (9,9...10,9 сСт) при температуре 293 К (20 °С) при давлении 18,6...20,6 МПа (190...210 кгс/см²). Плотность контролируемой плунжерной пары для 1-го и 4-го цилиндров должна быть в пределах 15...30 с. Плотность контролируемой пары для-2-го и 3-го цилиндров должна быть в пределах 21...42с. Сравнивайте плотность проверяемой пары с эталонной парой. При испытании плунжер устанавливайте в гильзу так, чтобы между плоскостью, проходящей по оси плунжера через ось нижней мётки, и плоскостью, проходящей по оси гильзы через ось всасывающего отверстия, был угол 60°±3°.

  7. Плунжерные пары поставляются в запасные часта двух наименований: плунжер — гильза комплект 16-67-102 СП для секций топливного насоса 1-го и 4-го цилиндров; плунжер — гильза комплект 16-67-108 СП для секций насоса 2-го и 3-го цилиндров.

Обратный клапан и гнездо в сборе

  1. Зазор Между направляющей частью поясков обратного клапана и отверстием в его гнезде не более 0,008 мм.Клапан должен садиться на седло под действием своего веса из любого положения по высоте и по окружности.

  2. Воздух под давлением 400... 700 кПа (4... 7 кгс/см²), направляемый сверху на клапан и прижимающий его к гнезду, не должен проходить через соединение Пропуск воздуха определяется на специальной установке по пузырькам, выходящим из отводящей трубки, погруженной в керосин, при трех положениях клапана в гнезде. Проверяйте клапан под давлением в течение не менее 10 с при каждом положении, установив на него пружину, имеющую затяжку не более 4 мм.

  3. Не допускается пропуск топлива обратным клапаном при подаче топлива к секции подкачивающим насосом (плунжер своим продольным пазом на головке стоит против впускного отверстия гильзы) при частоте вращения вала привода насоса, равной 500 мин-1. Проверяйте с отсоединенной трубкой от секции.

  4. Герметичность обратного клапана по цилиндрическому разгрузочному пояску, а также суммарную герметичность клапана по запирающему .конусу и цилиндрическому пояску рроверяйте на приборе КИ-1086, сравнивая показания проверяемой пары с эталонной.

  5. Клапан и гнездо подобраны и притерты друг к другу. Раскомплектовка их не допускается.

Секция насоса в сборе

  1. При регулировании секции на подачу топлива регулировочная муфта на тяге рейки насоса должна быть в положении полной подачи топлива, т. е. упираться в пружину корректора без ее деформации, для чего под пружину подкдадывайте щуп толщиной, указанной в таблице.
    Регулирование секции на подачу топлива
    Дизель Количество подаваемого топлива за 500 ходов плунжера, см³ Полный вы­ход тяги рейки, мм Частота вращения валика насоса, мин-1 Толщина щу­па, подкладываемого под пружину корректора, мм
    Д-160 123 ±1,84 26,5 ±0,2 625 ±10 3,6
    Д-160Б 122 ±1,83 26,5 ±0,2 535 ±10 3,6

  2. Отрегулированная секция через топливопроводы высокого давления и форсунку за 500 ходов плунжера должна подавать количество топлива при параметрах насоса, указанных в табл. 19.

  3. Зубчатый-сектор на плунжере в отрегулированной секций должен быть плотно закреплен винтом. Момент затяжки винта крепления зубчатого сектора 2,5 Н • м (0,25 кгс/м). Сдвиг или проворачивание сектора от крутящего момента 2,5 Н-м (0,25 кгс-м) не допускается. Размер под ключ внутреннего шестигранника равен 4±0,12 мм.

  4. На окончательно отрегулированной секции должны быть следующие метки: на приливе Е ( см. рис. 153 ) корпуса под стопорный винт гильзы метка О для секции 2-го и 3-го цилиндров, на верхнем торце зубчатого сектора слева от риски, проходящей через вершину зуба, дополнительная риска глубиной и шириной 0,5...1 мм против метки на шейке плунжера. Эта риска наносится после регулирования секции на подачу топлива и предназначена для установки зубчатого сектора на плунжере в прежнее положение при проворачивании сектора на плунжере при работе насоса.

  5. Прецизионные детали в период между разборкой и сборкой храните в ванночке с дизельным топливом для предохранения их от грязи и коррозии.

  6. Секции насоса выпускаются в запасные части двух наименований:
    • секции насоса 51-67-107 СП для l-ro и 4-го цилиндров;
    • секция 51-67-109 СП для 2-го и 3-го цилиндров.

Дизели Д-160 и Д-160Б имеют автоматическое отключение 2-го и 3-го цилиндров при переходе дизеля на холостой ход или малую нагрузку. Это достигнуто тем, что плунжеры топливного насоса 2-й и 3-й секции имеют более широкий перепускной продольный паз на головке. Поэтому комплект плунжерных пар и секций в сборе для 2-го и 3-го цилиндров имеют номера по каталогу, отличные от плунжерных пар и секций в сборе для 1-го и 4-го цилиндров. По установочным размерам эти детали одинаковые. У секций 2-го и 3-го цилиндров имеется отличительная метка О на приливе Е корпуса под стопорный винт гильзы.

Сборка секции топливного насоса Т-170

Выньте плунжер 22 ( см. рис. 153 ) из гильзы 3. Вставьте отвертку в прорезь зубчатого сектора 1 и, слегка разведя его, наденьте на поясок плунжера так, чтобы торец сектора с риской был обращен к верхнему торцу плунжера! Зубчатый сектор устанавливайте на плунжер так, чтобы метка плунжера находилась примерно на середине расстояния между резьбовым отверстием и крайним зубом сектора. Смажьте маслом резьбу винта 2 и вверните его в сектор до упора специальным изогнутым торцовым ключом ПИМ-640.200.01.

Собранный плунжер положите в ванночку с чистым дизельным топливом. Протрите льняной салфеткой верхний торец гильзы 3 и торец в корпусе 19 секции и вложите гильзу в корпус так, чтобы наз на головке находился против отверстия под стопорный винт 17.

Наденьте на стопорный винт 17 прокладку 18 и туго заверните его в корпус секции. Хвостовик стопорного винта должен войти в паз гильзы. После полной затяжки винта, гильза плунжера должна иметь продольный люфт, определяемый на ощупь.

Наденьте на гнездо 16 клапана уплотнительное кольцо 15 и вложите его вместе с клапаном 9 в корпус секции. Осадите уплотнительное кольцо оправкой до упора в бурт гнезда. Наденьте пружину И на хвостовик обратного клапана и заверните штуцер 13 специальным ключом в корпус секции до упора.

Наверните на конец штуцера защитный колпачок 10. Вставьте снизу в гильзу 3 плунжер 22 и затяните штуцер секций, окончательно проверяя одновременно легкость перемещения плунжера в гильзе.

Запрессуйте штифт 8 в отверстие на верхней плоскости корпуса секции. Напрессуйте на штуцер секции стопорное кольцо 12 так, чтобы штифт 8 вошел в какой-либо паз на наружной поверхности кольца. Заверните В резьбовое отверстие на верхней плоскости секции продувочную иглу 7.

Вставьте в отверстие подвода топлива секции пробку 5 с резиновым кольцом 6. Снизу секцию закройте защитным колпачком 4 со скобой 20. На площадке Е корпуса секции, ниже стопорного винта гильзы, выбейте цифру, обозначающую номер группы плотности плунжерной пары.

Установка секции топливного насоса Т-170

Перед установкой секции протрите чистой салфеткой и осмотрите плоскости прилегания секции и корпуса топливного насоса. При обнаружении забоин зачистите их заподлицо с плоскостью.

Удалите защитную пробку из топливоподводящей трубки блока насоса, снимите с секции защитные детали. Наденьте уплотнительное резиновое кольцо на трубку подвода топлива в корпусе насоса. Снимите рейку насоса. Опустите секцию вместе с плунжером в корпус насоса, поддерживая пальцем плунжер от выпадания из гильзы. Заведите конец плунжера в паз регулировочного хвостовика толкателя и посадите секцию на штифты. После установки всех четырех секций закрепите их к корпусу топливного насоса прижимными угольниками и болтами с пружинными шайбами. Проверьте плотность прилегания корпуса секции к плоскости корпуса насоса. Зазор между плоскостями корпусов секции и насоса не допускается.

Установка рейки и зубчатых секторов по меткам

Рис. 155. Установка рейки и зубчатых секторов по меткам

Поверните зубчатые секторы вместе с плунжерами так, чтобы зуб с меткой 2 ( рис. 155 ) на каждом секторе риской был обращен в сторону рейки насоса. Поставьте рейку насоса, совмещая зубья с меткой каждого сектора с риской на впадинах зубьев рейки, и введите в зацепление с секторами.

Для облегчения правильного зацепления рейки с секторами предварительно совместите метки на зубьях секторов крайних секций с рисками 1 на приливах корпуса насоса.

При вводе рейки на место добейтесь совпадения крайних рисок 1 на рейке с рисками на приливах корпуса насоса.

При этом меченные зубья крайних секторов войдут в зацепление с меченными впадинами зубьев рейки, а секторы остальных двух средних секций установите после ввода рейки на место.

Проверьте легкость перемещения рейки и убедитесь в совпадении меток на рейках и зубьях секторов. Поставьте на место планки крепления рейки и закрепите их болтами с пружинными шайбами.

Определение зазора между рейкой и зубчатым сектором

Рис. 156. Определение зазора между рейкой и зубчатым сектором

Проверьте боковой зазор в сцепленных зубьях секторов и рейки. Проверяйте прижатием рейки 1 ( рис. 156 ) до упора в зубчатые секторы 2 и замера щупом зазора А между плоскостями планок 3 и рейки.

Этот зазор допускается не более 0,25 мм. Проверяйте зазоры отдельно для I и IV и для II и III секций. Поставьте на рейку и закрепите призонным болтом с пружинной шайбой поводок, соединяющий рейку с тягой. Вторично проверьте легкость перемещения рейки за- тягу. Усилие, необходимое для перемещения рейки за тягу из одного крайнего положения в другое, допускается не более 5Н (0,5 кгс). Установите на место крышку бокового' люка и закрепите ее болтами с пружинными шайбами. Присоедините к секциям топливопроводы высокого давления.

Обкатка и регулирование секции Т-170

Секции топливного насоса регулируйте на насосе, у которого отрегулированы толкатели и установлен полный выход тяги рейки ( см. «Регулирование топливного насоса» ).

При регулировании секции тягу рейки закрепите в положении полной подачи (регулировочная муфта упирается в пружину корректора, под которую подложен щуп толщиной, указанной в табл. 19). Секции с отремонтированными или замененными прецизионными деталями перед регулированием подвергайте обкатке.

Во время обкатки и приработки деталей проверьте работу обратного клапана; если течь обнаружилась, то устраните ее.

Обкатка секций

Обкатывайте секции с топливопроводами высокого давления и форсунками, отрегулированными на давление 20,6 МПа (210 кгс/см²). Установите и закрепите секции на топливном насосе. Снимите со штуцеров защитные колпачки, поставьте рейку насоса в положение ВЫКЛЮЧЕНО, откройте краник от бака с топливом, отверните на два-три оборота продувочные иглы секций и держите их открытыми до.тех пор, пока из отверстий в корпусах секций топливо не начнет выходить непрерывной струей без пузырьков воздуха. Присоедините к секциям топливопроводы высокого давления и форсунки. Включите стенд, передвиньте рейку в положение полной подачи и обкатайте секции в течение 10 мин при частоте вращения валика насоса, равной 500 мин-1. Во время обкатки не допускается течь топлива из-под штуцера, стопорного винта, продувочной иглы и между корпусом секции и гильзы.

Регулирование секции на количество подаваемого топлива

Регулируйте секции с топливопроводами высокого давления и форсунками, отрегулированными на нормальное давление топлива.

Изменение положения зубчатого сектора на плунжере с помощью ключей ПИМ-640.200.05 и ПИМ-640.200.01

Рис. 157. Изменение положения зубчатого сектора на плунжере с помощью ключей ПИМ-640.200.05 и ПИМ-640.200.01

Регулируйте подачу топлива секциями поворотом зубчатого сектора на плунжере. При повороте сектора по часовой стрелке (смотря снизу вверх) подача топлива уменьшается, а при повороте сектора против часовой стрелки — увеличивается ( рис. 157 ).

На плунжере имеются лыски для удержания его ключом ПИМ-640.200.05 при повороте зубчатого сектора.

Подача топлива секцией за 500 рабочих ходов плунжера должна быть в пределах, указанных в табл. 19. Замер подаваемого секцией топлива производите сбором топлива в мерные стаканчики.

Перед регулированием убедитесь в том, что секции плотно притянуты болтами к плоскости корпуса насоса.

Для ускорения регулирования и повышения точности результатов испытаний замеряйте подачу топлива во всех случаях одновременно для четырех секций насоса.

После окончания регулирования и закрепления сектора винтом снова проверьте подачу топлива секциями, затем снимите с секций трубки, переведите рейку насоса в положение ВЫКЛЮЧЕНО, включите стенд и проверьте плотность посадки обратного клапана в гнезде. При плотной посадке конуса обратного клапана из отверстия штуцера секции не должно вытекать топливо.

После регулирования, отсоедините топливопроводы высокого давления и на штуцеры секций напрессуйте стопорные кольца, забейте стопорные штифты, затем на штуцеры наверните защитные колпачки. На секторах плунжеров после регулирования секций насоса нанесите риски А ( см. рис. 153 ) против меток 21 на шейках плунжеров.

Ремонт секции топливного насоса